【專利公告讓與】P98054-馬達內藏式主軸熱誤差補償裝置

|
專利國別 |
中華民國 |
發表日期 |
2025-09-09 |
|
專利讓與 |
一、依據經濟部科學技術研究發展成果歸屬及運用辦法第22條規定辦理。 二、依據本校第410次智慧財產權審議委員會辦理。 三、公告日:2025年09月08日(星期一) 四、公告讓與期間:自公告日起3個月。 五、敬請有興趣辦理受讓之廠商,或對受讓申請程序有任何疑問者,聯繫研發處技術推廣中心洽談,電話:05-2720411轉16501、16505。 |
||
|
本校案號 |
P98054 |
||
|
專利名稱 |
馬達內藏式主軸熱誤差補償裝置 |
||
|
發明人 |
陳政雄、賴建宏 |
||
|
所屬院 |
工學院 |
提案單位 |
先進工具機研究中心 |
|
類型 |
發明 |
專利權人 |
國立中正大學 |
|
申請號 |
099128419 |
申請日期 |
2010-08-25 |
|
公開號 |
201209382 |
公開日期 |
2012-03-01 |
|
證書號 |
I442034 |
核准日期 |
2014-06-21 |
|
國際分類號 |
G01K-013/08(2006.01);H02K-029/00(2006.01);G05B-019/404(2006.01) |
||
|
專利權期間 |
2014.06.21~2030.08.24 |
||
|
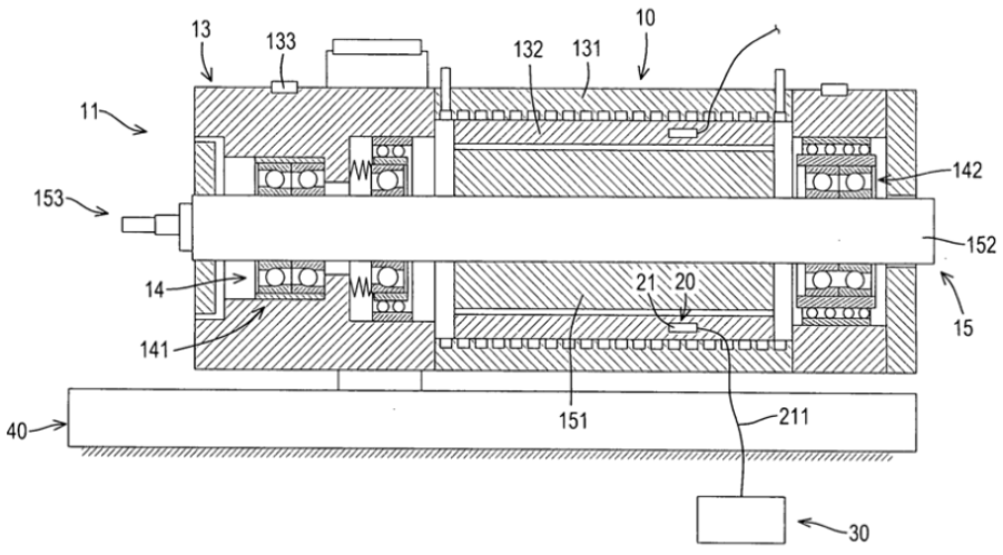
專利摘要 |
一種馬達內藏式主軸熱誤差補償裝置,設有一主軸模組、一溫度量測模組、一信號處理模組及一數值控制進給軸系統,該主軸模組設有一馬達內藏式主軸與一主軸馬達驅動器,該溫度量測模組與該主軸模組相結合且設有至少一埋設於該馬達內藏式主軸的馬達定子內部的馬達定子溫度計,該信號處理模組與該溫度量測模組和該主軸馬達驅動器相電性連接且設有一感測器信號輸入單元、一熱誤差預測數學模型與一補償值輸出通訊介面,該數值控制進給軸系統係與該信號處理模組相電性連接且設有一數值控制器與一進給軸,構成一節省成本、方便安裝與準確量測之熱誤差補償裝置者。 |
||
|
圖示 |
|||



