【專利公告讓與】P98012-轉動機械的渦電流致動平衡裝置

|
專利國別 |
中華民國 |
發表日期 |
2025-12-19 |
|
專利讓與 |
一、依據經濟部科學技術研究發展成果歸屬及運用辦法第22條規定辦理。 二、依據本校第417次智慧財產權審議委員會辦理。 三、公告日:2025年12月19日(星期五) 四、公告讓與期間:自公告日起3個月。 五、敬請有興趣辦理受讓之廠商,或對受讓申請程序有任何疑問者,聯繫研發處技術推廣中心洽談,電話:05-2720411轉16501、16505。 |
||
|
本校案號 |
P98012 |
||
|
專利名稱 |
轉動機械的渦電流致動平衡裝置 |
||
|
發明人 |
陳政雄、李柏霆、曾永昌 |
||
|
所屬院 |
工學院 |
提案單位 |
先進工具機研究中心 |
|
類型 |
發明 |
專利權人 |
國立中正大學 |
|
申請號 |
098116802 |
申請日期 |
2009-05-20 |
|
公開號 |
201042181 |
公開日期 |
2010-12-01 |
|
證書號 |
I349749 |
核准日期 |
2011-10-01 |
|
國際分類號 |
F16F-015/36(2006.01);G01M-001/30(2006.01);B23Q-011/00(2006.01) |
||
|
專利權期間 |
2011.10.01~2029.05.19 |
||
|
專利摘要 |
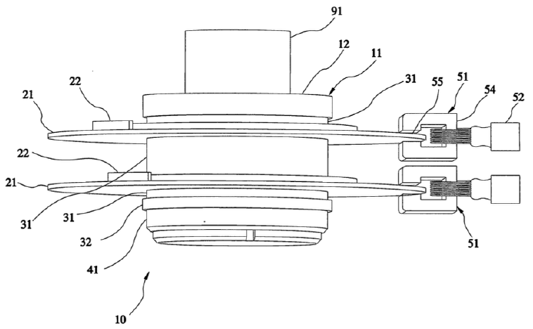
一種轉動機械的渦電流致動平衡裝置,包含有:一套筒,一端具有一定位承靠面;至少二平衡環,套於該套筒上,各該平衡環的邊緣具有一配重塊;一緩衝墊圈位於該二平衡環之間;一彈性環;一鎖定套環;以及各該平衡環上設置有至少一脈衝磁場產生器;其中,該二平衡環、該緩衝墊圈、以及該彈性環係被夾持於該鎖定套環與該定位承靠面之間。此外,利用各該脈衝磁場產生器所產生的脈衝磁場來分別作用於轉動中的各該平衡環的環面上而產生感應渦電流,可藉以致動該平衡環產生一相對於該套筒的小角度位移,達到控制該平衡環的配重塊轉動到預定角度的效果。 |
||
|
圖示 |
|||



