【專利核准公告】P113024TW-以智能高光譜影像評估空氣汙染之方法

|
專利國別 |
中華民國 |
發表日期 |
2026-01-08 |
|
本校案號 |
P113024TW |
||
|
專利名稱 |
以智能高光譜影像評估空氣汙染之方法 |
||
|
發明人 |
王祥辰、蕭正皓、王冠中、謝鎮遠 |
||
|
所屬院 |
工學院 |
提案單位 |
先進工具機研究中心 |
|
類型 |
發明 |
專利權人 |
國立中正大學 |
|
申請號 |
114106768 |
申請日期 |
2025.02.24 |
|
公開號 |
尚未公開 |
公開日期 |
尚未公開 |
|
證書號 |
發明第I909972號 |
核准日期 |
2025.12.21 |
|
國際分類號 |
G01J3/42(2006.01); G06T7/90(2017.01); G06N3/082 (2023.01); G06V10/764(2022.01); G06T7/30 (2017.01) |
||
|
專利權期間 |
2025.12.21~2045.02.23 |
||
|
專利摘要 |
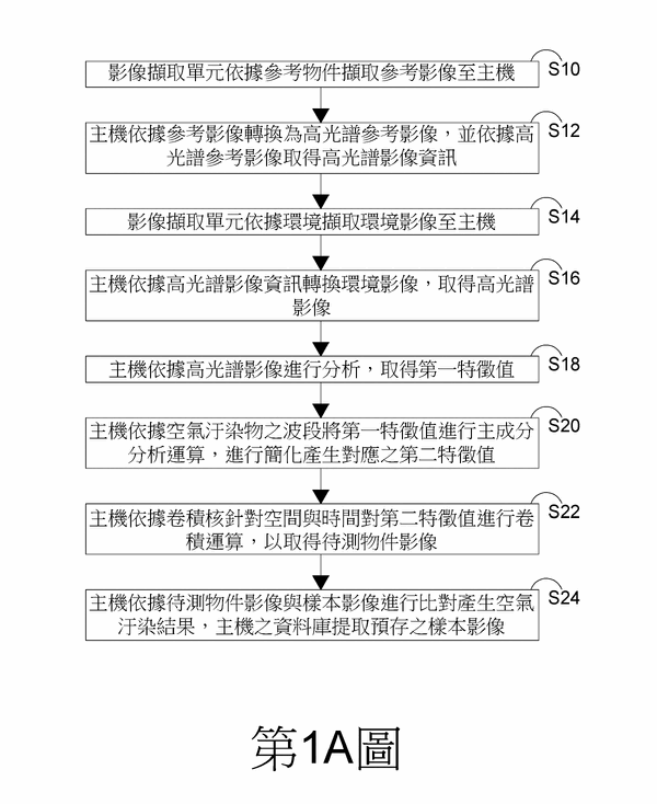
本發明提供一種以智能高光譜影像評估空氣汙染之方法,先藉由一參考影像取得一高光譜影像資訊,依據該高光譜影像資訊轉換一環境影像取得一高光譜影像,取得該高光譜影像之複數個第一特徵值,並依據一空氣汙染物之一波段進行一主成分分析運算以取得複數個第二特徵值,該些個第二特徵值進行卷積運算取得至少一待測物件影像,該至少一待測物件影像與至少一樣本影像比對產生一空氣汙染結果,達到減少檢測流程所需的時間、提升檢測範圍之功效。 |
||
|
圖示 |
|||



